保定大力起重機械有限公司
電話:400-0312-118
0312-3022118
0312-3122118
0312-3155118
手機:15803222055
傳真:0312-3027600
掃一掃,加微信好友!

保定大力起重機械有限公司
電話:400-0312-118
0312-3022118
0312-3122118
0312-3155118
手機:15803222055
傳真:0312-3027600
掃一掃,加微信好友!

三合一內平動卷筒與傳統卷筒相比,具有明顯的優勢,主要有:
(1)體積小、重量輕、結構緊湊。電機、制動器、減速機三合一,電機采用特種盤式電機,這種電機為扁平結構,體積小,軸向尺寸短,功率密度高,與同功率的電機相比體積為傳統電機的1/5左右,重量為傳統電機的1/19左右,并且勵磁系統沒有損耗,效率高;減速器采用內平動減速器,這種減速器體積小,軸向尺寸短,傳動比大,兩級減速,理論上速比可達1000;制動器采用電磁圓盤式制動器,摩擦盤與安裝盤、銜鐵分別形成兩個摩擦副,形成雙制動。
(2)外觀美觀。傳統鋼絲繩電動葫蘆殼體的尺寸與電機和減速機的圓面尺寸不一致,電機和減速器的外觀不規則,而本發明中電機、減速器、制動器均布置在卷筒內,從外面看是規則的圓柱結構,非常美觀。
(3)軸向尺寸小,車間利用率高。與傳統的鋼絲繩電動葫蘆相比,電機、減速機、制動器均布置在卷筒內,軸向節省了電動機和減速器的尺寸,使得電動葫蘆沿工字鋼運行的有效距離更大,電動葫蘆吊鉤可以更接近車間兩側,使得車間利用率得到了大大提高。
(4)斷軸風險低。電機、減速機、制動器三合一,沒有中間軸,軸系短,沒有聯軸器連接,斷軸風險大大降低。
(5)過載能力強,卷筒強度增加。由于內齒端板在卷筒內部,卷筒壁的支撐更合理,卷筒的承載能力得到提高。
(6)效率高。由于電機、減速器的效率高,制動器采用電磁圓盤制動器,所以整個傳動效率和工作效率都大幅提高。
(7)適合環境惡劣的場合。由于電機、減速機和制動器均布置在卷筒內部,可以實現與工作環境的隔離,特別適合用在防爆、高溫、低溫、腐蝕性、潮濕、多雨雪等環境惡劣的場合。
(8)起升速度可以得到綜合提高。可以通過增加卷筒直徑、增加電機轉速等方式提高起升速度,不受卷筒、減速機和電機C型結構布置的限制。
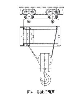
三合一內平動卷筒作為緊湊型起升機構驅動裝置,可以替換目前的電動葫蘆卷筒,形成各種各樣的電動葫蘆。如圖4所示,與普通的CD型鋼絲繩電動葫蘆的運行小車一起組成懸掛式電動葫蘆,如圖5所示,構成低凈空鋼絲電動葫蘆,圖6是雙梁小車式鋼絲繩電動葫蘆。



?
上一條:我國目前現行的防爆起重機行業標準
下一條:鋼絲繩電動葫蘆新吊鉤優化內容